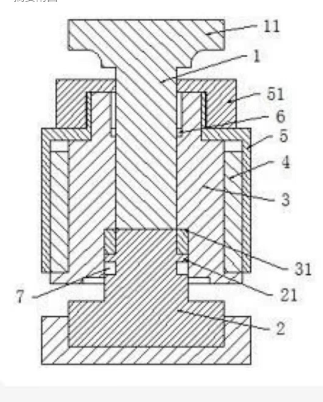
Details
Applicable to the research of various all-solid-state batteries.
Features: Good sealing performance, convenient assembly, no short circuits. Can withstand high-pressure testing. Compact mold. Can be upgraded to a temperature-controlled and pressurized mold according to needs.
1. Product purpose:
1) Widely used for electrochemical performance testing of various all-solid-state lithium/sodium/potassium ion batteries under pressurized and non-pressurized conditions.
2) The mold is suitable for both normal pressure and high-pressure testing of all-solid-state batteries during charge and discharge processes. Furthermore, it can be used for electrochemical performance testing such as cyclic voltammetry and electrochemical impedance spectroscopy under normal pressure and pressurized conditions.
3) The mold is suitable for testing two/three-electrode all-solid-state batteries.
2. Product features:
1) Unique threaded/O-ring compression design, providing excellent sealing performance.
2) The insulated sleeve is embedded with a metal ring, ensuring battery insulation and resistance to acid, alkali, and organic solvents, while maintaining a pressure of over 500 Mpa.
3) The external metal bracket is made of stainless steel, ensuring constant pressure during testing.
4) The mold is compact and easy to assemble. It is convenient for assembly and high-throughput testing in a glove box.
5) Separate lead wires for positive and negative electrodes to prevent short circuits during testing.
6) Expandable for testing three-electrode all-solid-state batteries.
7) Can be configured with high/low-temperature devices for adaptation.
3. Product customization:
1) Electrode area can be processed according to requirements to change the size of the current collector column.
2) High-temperature testing option available, temperature range: room temperature to 200℃.
3) Battery optional for three-electrode all-solid-state testing.
4) Current collector column can be selected with stainless steel, molybdenum, and other materials according to the battery system, and the pressure maintaining bracket can be selected.
4. Advantages over similar products:
1) Threaded/O-ring compression design, stronger sealing performance, convenient to use and assemble, suitable for operation in a glove box, maximum pressure can reach 500 Mpa.
2) Separate lead wires for positive and negative electrodes to avoid short circuits during testing.
Size: Diameter 63 mm, height 95 mm/diameter 69 mm, height 95 mm two options.






